هنگامی که یک پین تقسیم مقرون به صرفه دریافت می کنید، ممکن است با یک گواهی کیفیت همراه باشد. این اساساً یک کاغذ است که می گوید پین تقسیم بررسی شده است و استانداردهای خاصی را برآورده می کند.
این گواهی جزئیات مربوط به پین تقسیم را فهرست می کند - چه کسی آن را ساخته است، از چه چیزی ساخته شده است، اندازه آن، و از کدام دسته است. این نشان می دهد که پین شکاف برای مواردی مانند استحکام، دقت اندازه، و اینکه آیا به درستی بدون شکستن خم می شود، آزمایش شده است. آنها همچنین بررسی می کنند که عملیات سطح، مانند روکش روی، به درستی انجام شود.
این گواهی توسط بازرسانی که آزمایش ها را انجام داده اند امضا و مهر می شود. این کاغذبازی برای مشاغلی مفید است که نیاز دارند ثابت کنند که پین شکاف آنها الزامات خاصی را برآورده می کند، به ویژه در صنایعی مانند خودروسازی یا تولید که ردیابی کیفیت مهم است. اساساً این اطمینان شماست که اسپلیت پین قبل از دریافت آن به درستی بررسی شده است.
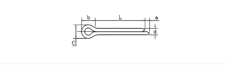
| d | 0.6 | 0.8 | 1 | 1.2 | 1.5 | 2 | 2.5 | 3.2 | 4 | 5 | 6.3 | 8 | 10 | 13 | 16 | 20 | |
| d | حداکثر | 0.5 | 0.7 | 0.9 | 1 | 1.4 | 1.8 | 2.3 | 2.9 | 3.7 | 4.6 | 5.9 | 7.5 | 9.5 | 12.4 | 15.4 | 19.3 |
| دقیقه | 0.4 | 0.6 | 0.8 | 0.9 | 1.3 | 1.7 | 2.1 | 2.7 | 3.5 | 4.4 | 5.7 | 7.3 | 9.3 | 12.1 | 15.1 | 19 | |
| a | حداکثر | 1.6 | 1.6 | 1.6 | 2.5 | 2.5 | 2.5 | 2.5 | 3.2 | 4 | 4 | 4 | 4 | 6.3 | 6.3 | 6.3 | 6.3 |
| دقیقه | 0.8 | 0.8 | 0.8 | 1.25 | 1.25 | 1.25 | 1.25 | 1.6 | 2 | 2 | 2 | 2 | 3.15 | 3.15 | 3.15 | 3.15 | |
| b≈ | 2 | 2.4 | 3 | 3 | 3.2 | 4 | 5 | 6.4 | 8 | 10 | 12.6 | 16 | 20 | 26 | 32 | 40 | |
| C | حداکثر | 1 | 1.4 | 1.8 | 2 | 2.8 | 3.6 | 4.6 | 5.8 | 7.4 | 9.2 | 11.8 | 15 | 19 | 24.8 | 30.8 | 38.5 |
| دقیقه | 0.9 | 1.2 | 1.6 | 1.7 | 2.4 | 3.2 | 4 | 5.1 | 6.5 | 8 | 10.3 | 13.1 | 16.6 | 21.7 | 27 | 33.8 | |
یک پین تقسیم مقرون به صرفه عمدتاً برای جلوگیری از شل شدن قطعات در ماشینها، خودروها و تجهیزات استفاده میشود. وظیفه آن جلوگیری از لیز خوردن پیچ ها، شفت ها یا سایر پین ها به دلیل لرزش است. به عنوان مثال، در یک ماشین، اغلب یک پین شکاف در توپی چرخ ها یا سیستم تعلیق برای کمک به ایمن نگه داشتن وسایل پیدا می کنید.
در ماشینهای کارخانهای، ممکن است از یک پین شکاف در لولاها یا اتصالات متحرک استفاده شود تا همه چیز در یک راستا قرار گیرد. در قایقها، میتواند سختافزارهایی مانند گیره را در جای خود نگه دارد. برای استفاده روزمره، می توانید از یک پین شکاف برای محکم کردن تیغه چمن زنی یا پدال دوچرخه استفاده کنید. شما فقط پین شکاف را از طریق یک سوراخ فشار دهید و دو شاخک را از هم جدا کنید - این یک راه ساده برای ایجاد اتصالی است که ایمن نگه داشته می شود اما همچنان می تواند در صورت نیاز جدا شود.
سوال: آیا می توانید گواهینامه ای برای اسپلیت پین مقرون به صرفه خود ارائه دهید؟
پاسخ: بله، میتوانیم یک گواهینامه مواد برای پین به شما بدهیم. این نشان میدهد که ما استانداردهایی مانند ISO 1234 را برآورده میکنیم. این اطمینان حاصل میکند که پینهای تقسیمبندی که دریافت میکنید با مشخصات مکانیکی و ابعادی مورد توافق ما بررسی میشوند.
