بسته بندی پیچ شش ضلعی Secure Fastening برای مرتب نگه داشتن آنها و جلوگیری از آسیب طراحی شده است. این جعبه های بسته بندی دارای یک آستر نرم هستند که دارای شکاف های نصب شده است. پیچ ها به صورت سر به سر در آنها قرار می گیرند، بنابراین هر پیچ شش گوش در جای خود باقی می ماند. این امر باعث می شود که آنها سریعاً برداشت و نصب شوند و از هرگونه خراشیدگی در حمل و نقل جلوگیری شود. برای حمل و نقل فله، پیچ های شش ضلعی اغلب 500 قطعه در هر کیسه بسته بندی می شوند. این کیسه ها سپس در جعبه های داخلی و جعبه های چوبی تقویت شده قرار می گیرند تا بار را ثابت نگه دارند. برای صنایع مهم، گزینه های بسته بندی با مشخصات بالا ممکن است استانداردهای نظامی سختگیرانه را برآورده کنند. این می تواند شامل کیسه های مهر و موم شده، روغنی و ضد آب باشد که از پیچ و مهره ها در برابر خوردگی در هنگام ذخیره سازی و حمل و نقل محافظت می کند.
درجه روی یک پیچ شش گوش استحکام آن را نشان می دهد. این علامت های درجه روی سر پیچ ها برای شناسایی آسان قرار دارند. نمرات ISO رایج شامل 4.6، 8.8، 10.9 و 12.9 است. گرید 8.8 یک پیچ معمولی با استحکام متوسط است، در حالی که 10.9 و 12.9 دارای استحکام بالا هستند و در مناطق سخت مانند اتومبیل و ساخت و ساز استفاده می شوند. استانداردهای ASTM مانند A307 و A325 نیز عملکرد پیچ را تعریف می کنند. انتخاب پیچ شش ضلعی ایمن با درجه صحیح کلید ایمنی است، زیرا تضمین می کند که پیچ می تواند بار را بدون شکست تحمل کند.
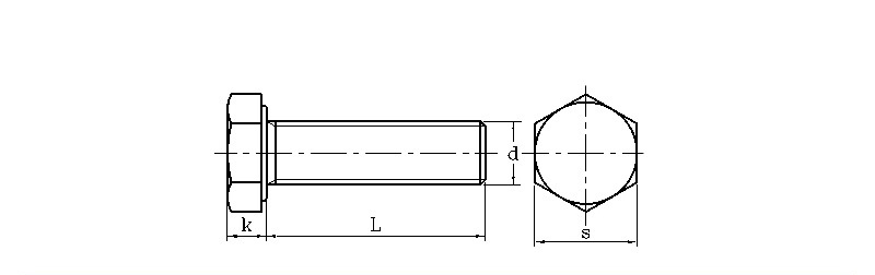
| میلی متر | |||||||
| d | S | k | d | موضوع | |||
| حداکثر | دقیقه | حداکثر | دقیقه | حداکثر | دقیقه | ||
| M3 | 5.32 | 5.5 | 1.87 | 2.12 | 2.87 | 2.98 | 0.5 |
| M4 | 6.78 | 7 | 2.67 | 2.92 | 3.83 | 3.98 | 0.7 |
| M5 | 7.78 | 8 | 3.35 | 3.65 | 4.82 | 4.97 | 0.8 |
| M6 | 9.78 | 10 | 3.85 | 4.14 | 5.79 | 5.97 | 1 |
| M8 | 12.73 | 13 | 5.15 | 5.45 | 7.76 | 7.97 | 1.25 |
| M10 | 15.73 | 16 | 6.22 | 6.58 | 9.73 | 9.96 | 1.5 |
| M12 | 17.73 | 18 | 7.32 | 7.68 | 11.7 | 11.96 | 1.75 |
| M14 | 20.67 | 21 | 8.62 | 8.98 | 13.68 | 13.96 | 2 |
| M16 | 23.67 | 24 | 9.82 | 10.18 | 15.68 | 15.96 | 2 |
| M18 | 26.67 | 27 | 11.28 | 11.7 | 17.62 | 17.95 | 2.5 |
| M20 | 29.67 | 30 | 12.28 | 12.71 | 19.62 | 19.95 | 2.5 |
آیا می توانید مواد آرایشی و گزینه های محافظت در برابر خوردگی را برای پیچ های شش ضلعی بست ایمن خود توضیح دهید؟
ما پیچ های شش گوش خود را در مواد مختلفی مانند فولاد کم کربن، فولاد آلیاژی قوی تر و فولاد ضد زنگ (A2-304 و A4-316) تولید می کنیم. برای محافظت در برابر زنگ زدگی، ما پوشش هایی مانند روی الکتروگالوانیزه، گالوانیزه گرم و داکرومت را ارائه می دهیم. انتخاب پوشش مناسب برای مدت زمان ماندگاری پیچ اهمیت دارد، به خصوص در مکان های سخت مانند سایت های ساختمانی یا نزدیک دریا.
